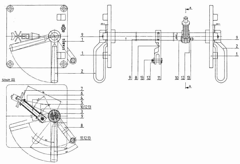
Umstellvorrichtung EIN-AUS 75°
UV 54
N 027 069


- Ersatzteil oder Gerät anfragen -
Klick auf die Zeichnungsnummer zeigt Informationen zum Ersatzteil
| Pos. | Anzahl | Benennung | Zeichnungsnummer |
|
|---|---|---|---|---|
| 1 | 2 | Deckel | UV 54-1 | |
| 2 | 2 | Griff | 14 338 | |
| 3 | 1 | Gabelhebel kurz | 10 410 G | |
| 4 | 1 | Bolzen | 14 818-1 | |
| 5 | 1 | Scheibe | SCH 13 | |
| 6 | 1 | Feder | 14 818-3 | |
| 7 | 1 | Scheibe | 14 818-2 | |
| 8 | 1 | Gabelhebel | 10 413-3 | |
| 9 | 4 | Spannstift | SPS 6x40 | |
| 10 | 1 | Bolzen DIN 1434 | Ø10h11x35x27 | |
| 11 | 1 | Bolzen DIN 1434 | Ø10h11x30x26 | |
| 12 | 2 | Scheibe | SCH 10.5/DIN 433 | |
| 13 | 2 | Splint | SP 3.2x20 |

