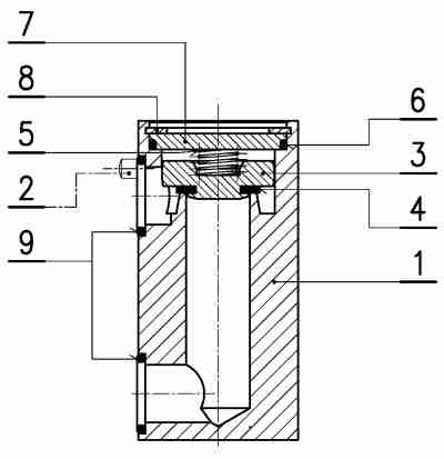
Rückschlagventil 3/4"
55.001.3
N 020 006


- pedir pieza de repuesto -
Haga Click sobre el número para más información sobre la pieza de repuesto
| pos. | cant. | desig. | número |
|
|---|---|---|---|---|
| 1 | 1 | Gehäuse | 11.108.3 | |
| 2 | 1 | Zylinderstift 6m6x14 | ZS 6m6x14 | |
| 3 | 1 | Ventilstössel | 21.001.4 | |
| 4 | 1 | Gummidichtung | 25.008.4 | |
| 5 | 1 | resorte | 26.002.4 | |
| 6 | 1 | anillo tórico | OR | |
| 7 | 1 | Deckel | 12.002.4/H | |
| 8 | 1 | Anillos de retención para agujeros | SR J43x1.75/vz | |
| 9 | 2 | anillo tórico | OR |
