STABEG Apparatebau GmbH - Reinlgasse 5-9 - A-1140 Wien - Tel.: +43 +1 982 26 28 - Fax.: +43 +1 982 61 66


- pedidos -


piezas de repuesto:

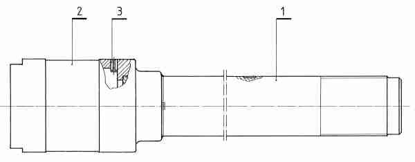
Zugrohr komplett

Km 1-438

Zugrohr komplett Km 1-438

- pedir pieza de repuesto -


Haga Click sobre el número para más información sobre la pieza de repuesto
pos.cant. desig. número
11 ZugrohrKm 1-3Km 1-3
21 MuffeKm 1-8/HKm 1-8/H
31 pasador elásticoSPS 6x10

Ersatzteilliste drucken

Volver

>