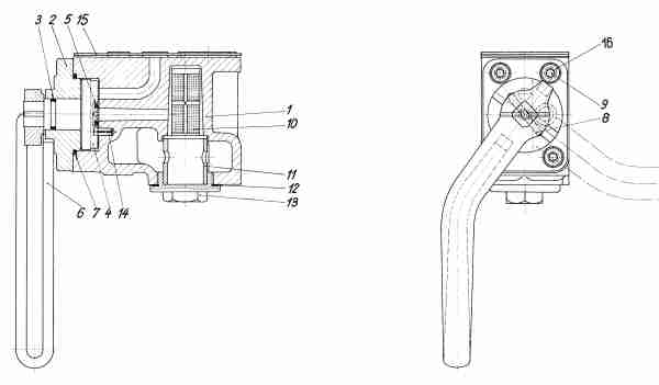
Absperrhahn 90°
WB 200 066-Z
N 022 065

- rezervni dio ili aparat -
Klik na broj nacrta pokazuje informaciju za rezervni dio
| Pozicija | Kolicina | Naziv | Broj nacrta |
|
|---|---|---|---|---|
| 0 | 4 | Federring | FR 8/7980 | |
| 0 | 4 | Inbusschraube M8x16 | INS M8x16/6912 | |
| 0 | 1 | O-Ring | OR | |
| 0 | 1 | O-Ring | OR | |
| 0 | 1 | O-Ring | OR | |
| 0 | 1 | Spannhülse | SH 4x36 | |
| 0 | 1 | Distanzring | ST 400 658 | |
| 0 | 1 | Filter komplett | ST 400 673 | |
| 0 | 1 | Dichtring Ø38/47x1 | W 4088 323 X | |
| 0 | 1 | Handgriff rechts | WB 300 158 | |
| 0 | 1 | Gummidichtung | WB 401 112 | |
| 1 | 1 | Gehäuse | ST 200 062 | |
| 2 | 1 | Deckel | WB 300 076 | |
| 4 | 1 | Reiber | WB 300 077 | |
| 13 | 1 | Deckel | WB 400 657 |
