prikazna naprava
AV 6
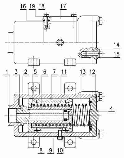
N 016 007

S padom pritiska ispod 3.8 bara je crvena ploča vidljiva.
Potpuno vidlljiva sa crnom točkom na pritisku od 3.0 do 2.7 bara.

- rezervni dio ili aparat -
Klik na broj nacrta pokazuje informaciju za rezervni dio
| Pozicija | Kolicina | Naziv | Broj nacrta |
|
|---|---|---|---|---|
| 1 | 1 | Gehäuse | AV 1-1 | |
| 2 | 1 | Führung | AV 1-11 | |
| 3 | 1 | Dichtring WB 300 412 | W 4088 209 X | |
| 4 | 1 | Nutring | 20.63/12.7/5.55 | |
| 5 | 1 | Kolben | AV 1-13 | |
| 6 | 1 | Führung | AV 1-14 | |
| 7 | 1 | Anzeigeschild | AV 1-15 | |
| 8 | 4 | Halbrundkerbnagel | KN 3x5 | |
| 9 | 1 | Sechskantschraube | SKS M6x15 | |
| 10 | 1 | Federring DIN 127 | FR A6 | |
| 11 | 1 | Feder | AV 1-16 | |
| 12 | 1 | Deckel | AV 1-5 | |
| 13 | 1 | O-Ring | OR | |
| 14 | 3 | Sechskantschraube | SKS M8x22 | |
| 15 | 3 | Federring DIN 127 | FR A8 | |
| 16 | 1 | brtva | AV 1-9c | |
| 17 | 1 | Staubschutz | AV 1-6 C | |
| 18 | 4 | cilindrični šaraf | ZSR M5x16 | |
| 19 | 4 | Fächerscheibe | FÄS J5.3 |
